QQ客服
2962439292
271870819
产品概述
LED显示屏是一种通过控制半导体发光二极管用来显示文字、图形、图像、动画、行情、视频、录像信号等各种信息的显示屏幕。LED显示屏显示画面色彩鲜艳,立体感强,静如油画,动如电影,广泛应用于车站、码头、机场、商场、医院、宾馆、银行、证券市场、建筑市场、拍卖行、工业企业管理和其它公共场所。
LC32是LED显示屏的核心部件,负责接收来自计算机串行口的画面显示信息,置入帧存储器,按分区驱动方式生成LED显示屏所需的串行显示数据和扫描控制时序,然后逐屏显示播放,循环反复,显示方式丰富多彩,支持显示屏脱机工作。LC32因其控制灵活,操作方便,成本低廉,在社会各行业有着广泛的应用。
功能特点
1. 低成本、体积小
提供市面上室内控制卡中最便宜的价格及最小的尺寸,极具性价比。单板尺寸:90×52.6×11.3mm。
2. 控制范围
单色: 16*512,32*512,48*448,64*384,128*256,双色128*256,最大支持32768像素。
3. 接口方式
4组08接口,第1组08接口支持母头,可以直接插入到单元板上,方便安装。
4. 通讯方式
板载RF与RS232两种通讯方式,可以通过按键进行切换,默认为RF通讯方式。
5. 无线接收距离
在视距情况下,使用2dBi的天线,离地高度2 米,可靠接收距离(Baudrate=38400bps)> 500m。
6. 安全和稳定性
支持电压过载、过低、反向保护,支防静电保护。提供硬件看门狗,解决电压不稳或电磁干扰等原因导致的系统死机问题。
7. 扫描方式
支持1/16、1/8、1/4、1/2以及静态扫描方式。
8. 亮度调节
支持设置0~100共11级的亮度设置。
9. 播放效果
支持多达13种常用播放效果,可以设置进入和退出效果,可以设置进入和退出效果的重复次数、播放速度。播放效果仍在持续增加中。
10. 节目播放
每个发送的节目可以选择保存或者不保存,支持保存最近播放的10条节目。
11. 支持字库和非字库两种文本显示方式
LC32默认已自带一个16*16点阵的宋体字库,使用字库显示方式,可以提高显示速度,从收到计算机数据至显示的时间≤50ms。
LC32也支持非字库方式显示文本,即输入任何文本都可以显示,与文字的语言种类无关。
12. 支持下载字库
客户可以通过厂家提供的字库生成工具生成相应字体的字库,然后动态下载并保存到控制卡中。
13. 支持全球多国语言
LC32支持全球任意语言文字,控制软件和开发包均可提供简体中文、繁体中文和英文版本。
14. 可以设置多个颜色区域
可设定任意区域中的内容显示指定的颜色。该功能为非分区控制卡中的独创功能,可以实现很多特殊使用效果。
15. 支持二次开发
提供完善易用的二次开发接口,用户可以很方便地对控制卡进行集成。提供多种语言的示例DEMO及使用说明文档。
安装使用
(1) 产品应用
(Ⅰ) 通过RF与计算机连接

说明:
将LC32接通5V直流电源,接好433MHz频率的天线,将计算机连接好配套的WD21无线收发模块,即可以通过计算机控制LC32控制卡。
(Ⅱ) 通过RS232有线方式与计算机连接

说明:
LC32支持切换为RS232有线工作方式,如果要配置RF模块的相关参数,则必须使用有线连接方式才能修改。
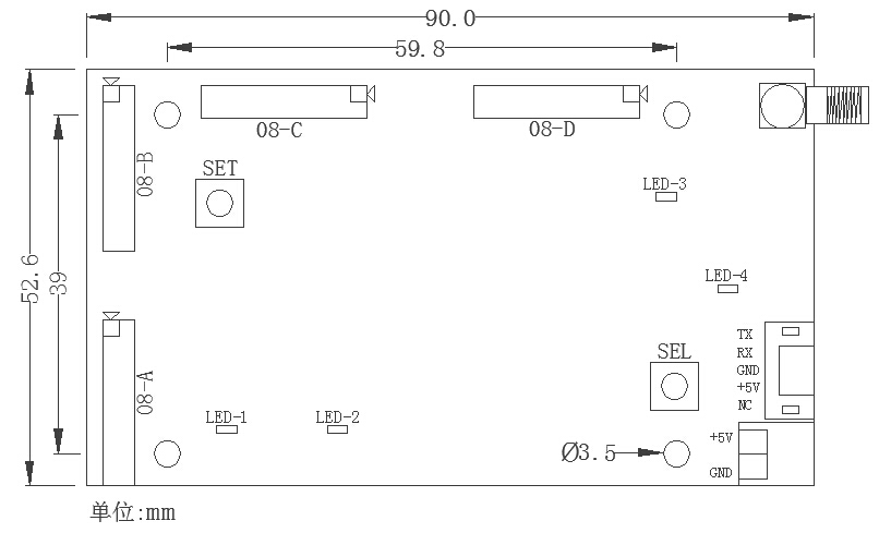
(2) 安装尺寸

(3) 功能接口定义

① 功能按键:
每按一下依次实现以下功能:显示控制卡物理地址、红色全亮、绿色全亮、黄色全亮。长按5秒:恢复出厂设置。
② 有线切换:
LC32默认为RF无线工作方式,按该键可以在RF无线与RS232有线通讯方式之间切换。长按5秒:保存选择的通讯方式。
③ LED-1(接收指示灯):
当接收到数据时该灯闪烁;
在单按功能键进入功能状态后常亮,退出功能状态后熄灭;
功能键长按5秒后闪3下进行确认。
④ LED-2(电源指示灯):
该灯在通电后保持常亮。
⑤ LED-3(发送指示灯):
LC32通过RF方式向计算机反馈应答数据时闪烁。
⑥ LED-4(无线指示灯):
该灯亮时表示工作在RF通讯方式下,灭表示工作在RS232通讯方式下。
通过有线方式连接且该灯亮的情况下,可以配置无线模块的参数。
⑦ RS232接口:
RS232数据传输接口,与计算机通讯时需接TX、RX、GND针。
⑧ 电源接口:
DC 5V电源接线柱。
⑨ SMA天线座:
SMA母头可以连接433MHz频率天线。
LC32的RS232接口方式,5Pin排针各针作用如下:
接口名称 | 功能描述 | 电平 | 备注 | |
1 | TX | RS232发送 | RS232 | 接计算机第2针 |
2 | RX | RS232接收 | RS232 | 接计算机第3针 |
3 | GND | 电源接地输出 | 0V | 接计算机第5针 |
4 | VCC/+5V | 电源正极输出 | +5V | |
5 | NC | 保留 | - | 可不接 |
(4) 正确使用步骤
根据不同的接口版本,按前面章节的说明正确连接好信号线至设备。
正确接好DC 5V供电,请使用万用表测量电压是否为5V。
安装好“LED控制卡配置程序(LC3x)”,选择对应的串口和波特率,如果能通过“读参数”正确读取到参数,则说明与控制卡通讯正常,否则请检查线路连接是否正确。根据LED屏的尺寸和颜色类型通过“写参数”设置好控制卡参数。
尝试使用软件的文本发送功能发送一串文本到控制卡,如果能正常显示,则说明控制卡安装成功。
主要参数
| 型号: | LC32 |
| 单板尺寸: | 90×52.6×11.3mm |
| 外形尺寸: | 97.2×52.6×11.3mm |
| 重量: | 24g |
| 最大功耗: | <1W |
| 最大电流: | <200mA |
| 工作电压: | DC 5V |
| 工作温度: | -40℃~85℃ |
| 工作湿度: | 10%~90% RH,无冷凝 |
| 接口类型: | 4组08接口 |
| 通讯方式: | RF / RS232 |
| 工作频率: | 434.405 MHz ~ 436.215 MHz |
| 接收灵敏度: | -121dBm |
| 控制范围: | 单色: 16*512,32*512,48*448,64*384,128*256,双色128*256 |
| 扫描方式: | 1/16、1/8、1/4、1/2、静态 |
| 颜色类型: | 单色、双色 |
| 亮度调节: | 共11级,支持手动调节 |
| OE设置: | 支持 |
| 数据极性: | 支持 |
| 行序特性: | 支持 |
| 恒压恒流: | 支持 |
| 显示效果: | 共13种,可扩展 |
| 空中速率: | 38400bps |
| 保存节目: | 10条 |
| 支持语言: | 多国语言 |
| 字库方式: | 同时支持字库与非字库两种方式 |

